Geode買収でバッサリ切り捨てられたElan
これらの製品は組み込み向けプロセッサーのニーズに応えるべく、いずれも長期供給保障がつけられた形で提供されていた。だが2003年8月、AMDがNS社のGeode部門を買収したことで、いきなり廃番になるという事件が起こった。
実は前年の2002年2月に、AMDはMIPSベースの省電力プロセッサーを開発していたAlchemy Semiconductor社を買収していた。NS社のGeode部門はAlchemyの部隊と合流する形で「PCS」(Personal Connectivity Solutions)という部門を構成し、ここに組み込み向けを集約する体制を取った。
その結果として、それまでElanなどを手がけていた部隊はPC向けプロセッサーの開発に振り分けられていた。そんな環境ではElanのサポートを継続しないのは必然というか、ある意味仕方がなかったのかもしれない。
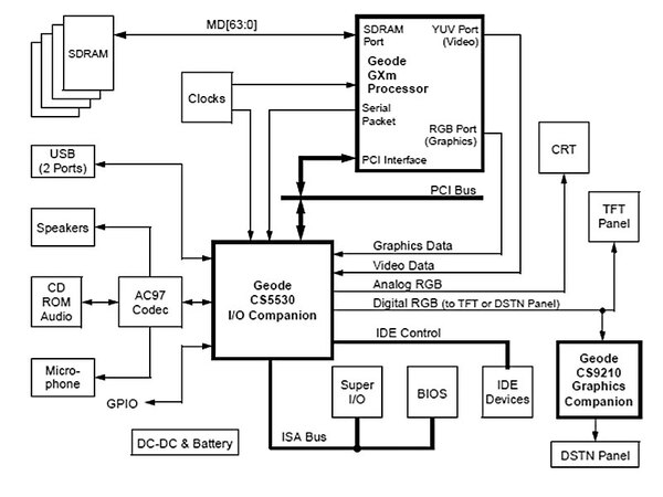
これに代えてAMDが新たに手にしたのがGeodeの製品ラインである。Geodeについては連載65回で解説しているが、ベースとなるのは「Cyrix 5x86」である。Cyrix 5x86をベースに2チップ構成としたのが、「Geode GX」シリーズであった。
Elanシリーズとは異なり、完全な1チップ化は実現できず、CPUにグラフィックとメモリーコントローラー、PCIコントローラーを搭載した「Geode GX」に、「CS55xx」シリーズのI/OコンパニオンチップをPCI経由でぶらさげるという構成になっている。
当時のNS社は、CyrixをVIA Technologiesに売り渡してアナログ半導体がメインの会社になっており、Geodeの部隊はそれほど大部隊ではなかった(AMDが買収した時点で135人)。そのため完全なSoC化を行なうほどの、開発リソースはなかったようだ。
それにも関わらずAMDがGeodeを買収したのは、「ElanよりもはるかにGeodeの方が成功していたから」という事情があった。実のところその差がどこにあったかといえば、CPUコアだけではなく周辺回路まで含めたポートフォリオでNS社の方が充実していたことと、カスタマーサポートが充実していたと点にある。そのためAMDに買収されたら、そうしたメリットが全部消えてしまうことになる(事実消えてしまった)。
それでもGeode設計チームがAMDとの合併を望んだのは、やはりアナログ半導体がメインの会社の片隅でプロセッサーを作り続けるのは難しく、「プロセッサーベンダーの中でCPUを作りたい」という希望を持っていたことによる。元々がインテルに対抗するCyrixの出身者たちだけに、インテルに買収されるという選択肢はなかったようだ。その意味では「AMDに買収されてハッピーだ」と、当初は語っていた。
本記事はアフィリエイトプログラムによる収益を得ている場合があります

この連載の記事
-
第868回
PC
物理IPには真似できない4%の差はどこから生まれるか? RTL実装が解き放つDimensity 9500の真価 -
第867回
PC
計算が速いだけじゃない! 自分で電圧を操って実力を出し切る賢すぎるAIチップ「Spyre」がAI処理を25%も速くする -
第866回
PC
NVIDIAを射程に捉えた韓国の雄rebellionsの怪物AIチップ「REBEL-Quad」 -
第865回
PC
1400WのモンスターGPU「Instinct MI350」の正体、AMDが選んだ効率を捨ててでも1.9倍の性能向上を獲る戦略 -
第864回
PC
なぜAMDはチップレットで勝利したのか? 2万ドルのウェハーから逆算する経済的合理性 -
第863回
PC
銅配線はなぜ限界なのか? ルテニウムへの移行で変わる半導体製造の常識と課題 -
第862回
PC
「ビル100階建て相当」の超難工事! DRAM微細化が限界を超え前人未到の垂直化へ突入 -
第861回
PC
INT4量子化+高度な電圧管理で消費電力60%削減かつ90%性能アップ! Snapdragon X2 Eliteの最先端技術を解説 -
第860回
PC
NVIDIAのVeraとRubinはPCIe Gen6対応、176スレッドの新アーキテクチャー搭載! 最高クラスの性能でAI開発を革新 -
第859回
デジタル
組み込み向けのAMD Ryzen AI Embedded P100シリーズはZen 5を最大6コア搭載で、最大50TOPSのNPU性能を実現 -
第858回
デジタル
CES 2026で実機を披露! AMDが発表した最先端AIラックHeliosの最新仕様を独自解説 - この連載の一覧へ











